Mexen Flow rektangulär duschkar slim 110 x 75 cm, svart matt - 46R707511

SV

SV

Mexen Flow rektangulär duschkar slim 110 x 75 cm, svart matt - 46R707511

  • Christmas Time
Mexen Flow rektangulär duschkar slim 110 x 75 cm, svart matt - 46R707511
search
  • Mexen Flow rektangulär duschkar slim 110 x 75 cm, svart matt - 46R707511
  • Mexen Flow rektangulär duschkar slim 110 x 75 cm, svart matt - 46R707511
  • Mexen Flow rektangulär duschkar slim 110 x 75 cm, svart matt - 46R707511
  • Mexen Flow rektangulär duschkar slim 110 x 75 cm, svart matt - 46R707511
  • Mexen Flow rektangulär duschkar slim 110 x 75 cm, svart matt - 46R707511
  • Mexen Flow rektangulär duschkar slim 110 x 75 cm, svart matt - 46R707511
Mexen Flow rektangulär duschkar slim 110 x 75 cm, svart matt - 46R707511
Mexen Flow rektangulär duschkar slim 110 x 75 cm, svart matt - 46R707511 Mexen Flow rektangulär duschkar slim 110 x 75 cm, svart matt - 46R707511 Mexen Flow rektangulär duschkar slim 110 x 75 cm, svart matt - 46R707511 Mexen Flow rektangulär duschkar slim 110 x 75 cm, svart matt - 46R707511 Mexen Flow rektangulär duschkar slim 110 x 75 cm, svart matt - 46R707511 Mexen Flow rektangulär duschkar slim 110 x 75 cm, svart matt - 46R707511
Akryl+ Akryl+
Förstärkt botten Förstärkt botten
Ultratunn Ultratunn
Mark:
Seria:
Ean:
5905315952004
Index:
46R707511
Längre sida:
110 cm
Färg:
Svart
Kortare sida:
75 cm
Höjd:
4 cm
Färg - Svart - ()
Yta - Matt - ()

Mexen Flow rektangulär duschkar slim 110 x 75 cm, svart matt - 46R707511

Produktspecifikation:

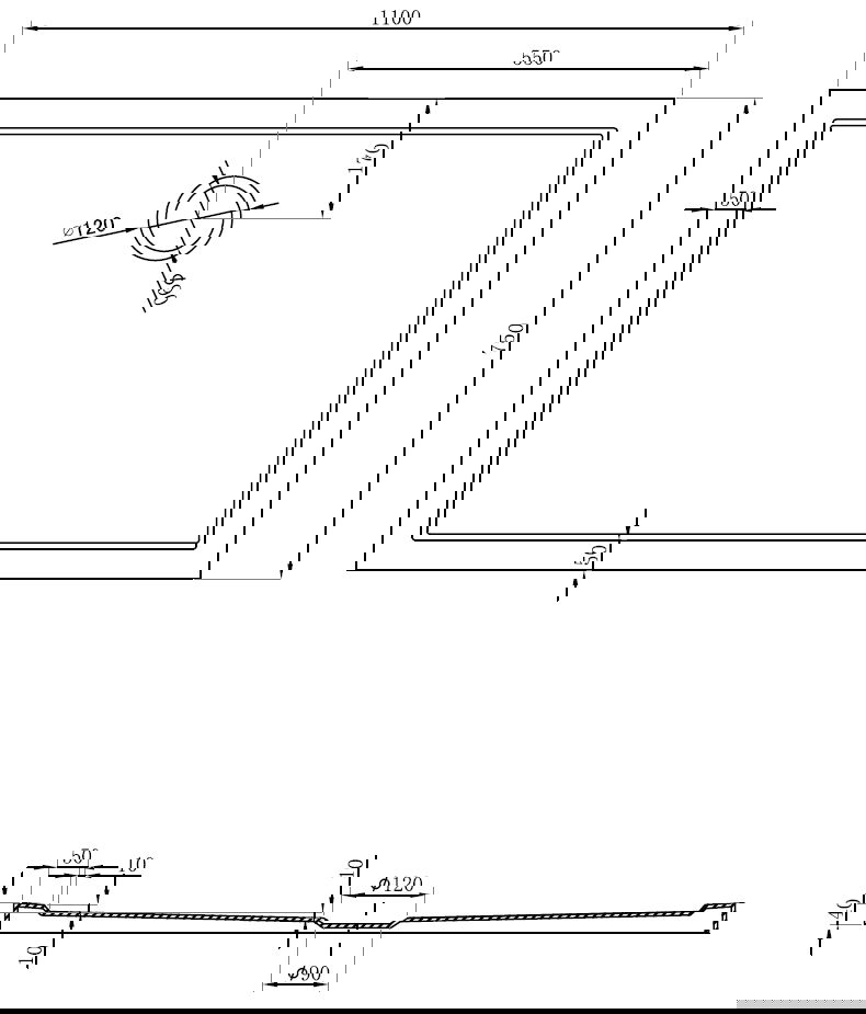
Storlek: 110x75x4 cm

Färg: Svart matt

Typ: Rektangulär, Slim

Material: Sanitetakryl

Förstärkt botten

Avloppsdiameter: 90 mm

Duschkaret innehåller inte en avloppssifon

Innovativa lösningar som används i denna produkt

Akryl+

Användningen av akryl i badrummet är en mycket praktisk lösning. Akryl håller vattentemperaturen väl, vilket förhindrar att vattnet svalnar snabbt. Det har också akustiska egenskaper, vilket minskar buller i badrummet.

Förstärkt botten

Botten av duschbrickan har ytterligare förstärkts med glasfiber och HDF-skiva, vilket gör den inte bara hållbar utan också garanterar säkerhet under badet. Den förstärkta botten säkerställer långvarig användning av duschbrickan.

Ultratunn

Duschkaret har en låg kant, vilket underlättar att gå i och ur duschen. Det ger rummet en unik och tidlös finish, vilket gör badrummet till en bekväm och estetisk plats för daglig avkoppling.

Profilerad duschkar

Duschkaret är utformat på ett sådant sätt att vattnet kan rinna fritt mot avloppet. Det säkerställer snabb och effektiv vattenavledning från duschkarets yta, vilket förhindrar bildandet av pölar och översvämning av badrummet.

PerfectClean

Produkten har en slät yta som imponerar med sin lyster och framhäver ett estetiskt utseende. Daglig vård och rengöring av ytan från befintliga smutsfläckar är mycket enklare och kräver inte användning av starka rengöringsmedel.

2 års garanti

Produkten omfattas av en 2-årig garanti. Vid problem med den köpta produkten uppmuntrar vi dig att kontakta oss via kontaktformuläret eller per telefon via vår kundtjänstnummer.

Serie
Längre sida
110 cm
Kortare sida
75 cm
Höjd
4 cm
Färg
Svart
Yta
Matt
Material
Akryl
Djup
12 mm
Avloppsdiameter
90 mm
Sifon ingår
Nej
Bruksanvisning
Säkerhetsinformation
Garantivillkor
Producent

Har du inte hittat svaret?

Skriv till oss

Mexen Flow rektangulär duschkar slim 110 x 75 cm, svart matt - 46R707511

Mexen Flow rektangulär duschkar slim 110 x 75 cm, svart matt - 46R707511

Listpris: 1 949,00 kr

1 558,90 kr (inkl. moms)

Billigare o 390,10 kr

20,02%

Lägsta pris under de senaste 30 dagarna
före rabatten: 1 558,90 kr

Akryl+ Akryl+
Förstärkt botten Förstärkt botten
Ultratunn Ultratunn
Mark:
Seria:
Ean:
5905315952004
Index:
46R707511
Längre sida:
110 cm
Färg:
Svart
Kortare sida:
75 cm
Höjd:
4 cm
Färg - Svart - ()
Yta - Matt - ()
Landning...